| নং | শিরোনাম | সেবার ধাপ | কার্যকলাপ |
|---|---|---|---|
| | |||
| ১ | উন্নত মানের বীজ উৎপাদন, সংরক্ষণ ও বিতরণের পদ্ধতি | দেখুন | |
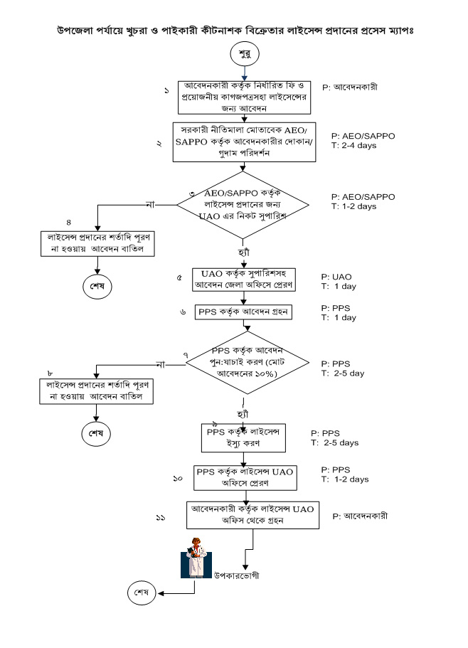
| ২ | খুচরা ও পাইকারী কীটনাশক বিক্রেতা লাইসেন্স পাওয়ার পদ্ধতি | দেখুন | |
| ৩ | মাটি ব্যবস্থাপনা পদ্ধতি | দেখুন | |
| ৪ | কৃষি প্রযুক্তি সংক্রান্ত প্রশিক্ষণ পদ্ধতি | দেখুন | |
| ৫ | উপজেলা পর্যায়ে কৃষি ভর্তুকি প্রদান পদ্ধতি | দেখুন | |
| ৬ | সম্বনিত ফসল ও বালাই ব্যাবস্থাপনা পদ্ধতি | দেখুন | |
| ৭ | উপজেলা পর্যায়ে উন্নত ফসলের জাত সম্প্রসারণ পদ্ধতি | দেখুন | |
| ৮ | সার ডিলার নিয়োগের পদ্ধতি | দেখুন |